AS型撕裂式潛水排污泵結構圖
時間:2012-7-31 來源:揚子江泵業 瀏覽數:523
【AS型撕裂式潛水排污泵】產品概述:
AS、AV型撕裂式潛水排污泵是本司采用德國公司先進的技術研發而成,此系列水泵具有帶撕裂的結構,能將污水中長纖維、袋、帶、草、布條等物質撕裂、切斷,然后順利排放,特別適合于輸送含有堅硬固體、纖維物的液體以及特別臟、粘、滑的液體。該系列排污泵水力性能先進、成熟,產品經性能測試,各項指標均符合有關設計要求。
本司產品全部采用計算機設計和優化處理,公司擁有雄厚的技術力量、豐富的生產經驗和完善的檢測手段,從而保證產品質量的穩定可靠。
【AS型撕裂式潛水排污泵】型號意義:
【AS型撕裂式潛水排污泵】產品特點:
◆ 采用先進技術,排污能力強,無堵塞,能有效地通過直徑φ30-φ80毫米的固體顆粒。
◆ 撕裂機構能夠把纖維物質撕裂,切斷,然后順利排放,無需在泵上加濾網。
◆ 設計合理,配套電機功率小,節能效果顯著。
◆ 用新材料的機械密封,可以使泵安全連續運行在8000小時以上。
◆ 結構緊湊,移動方便,安裝簡單,可減少工程造價,無需建造泵房。
◆ 能夠在全揚程范圍內使用,而保證電機不會過載。
◆ 浮球天并可以根據所需的水位變化,自動控制泵的啟動與停止,不需?垂堋
◆ 雙導軌自動安裝系統,它給安裝、維修帶來了極大的方便,人可不必為此而進出污水坑。
◆ 配備全自動保護控制箱對產品的漏電、漏水以及過載等進行了有效保護,提高了產品的安全性與可靠性。
【AS型撕裂式潛水排污泵】技術范圍:
流量:15-145m3/h;
揚程:4-25m;
轉速:1450-2900r/min;
口徑:φ76-φ152;
溫度范圍:-15-+40℃;
工作壓力:≤1.0Mpa。
【AS型撕裂式潛水排污泵】主要用途:
◆ 工廠、商業嚴重污染廢水的排放
◆ 醫院、賓館的污水排放
◆ 城市污水處理廠排放系統
◆ 市政工程、建筑工地
◆ 住宅區的污水排水系統
◆ 勘探、礦山配套附機
◆ 人防系統排水站
◆ 農村沼氣池、農田灌溉
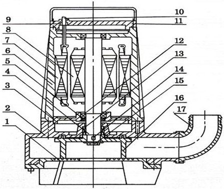
【AS型撕裂式潛水排污泵】結構圖:
|
|
1 |
底座 |
10 |
電纜 |
|
2 |
泵體 |
11 |
上蓋 |
|
|
3 |
軸承體 |
12 |
軸承 |
|
|
4 |
軸 |
13 |
機械密封 |
|
|
5 |
唇型密封 |
14 |
平鍵 |
|
|
6 |
電機殼 |
15 |
葉輪螺母 |
|
|
7 |
定子鉄芯 |
16 |
葉輪 |
|
|
8 |
轉子鐵芯 |
17 |
彎管 |
|
|
9 |
進線密封 |
|
|
【AS型撕裂式潛水排污泵】性能參數:
|
型號 |
流量 |
揚程 |
電機功率 |
轉速 |
額定電壓 |
額定電流 |
配用膠管內徑 |
自耦裝置 |
重量 |
|
(m3/h) |
(M) |
(kw) |
(r/min) |
(V) |
(A) |
mm |
|||
|
AS10-2W/CB |
15 |
4 |
1.1 |
2850 |
220 |
5.65 |
76 |
80GAK |
30 |
|
AS10-2CB |
15 |
4.5 |
1.1 |
2850 |
380 |
2.9 |
76 |
80GAK |
30 |
|
AS16-2CB |
29 |
7.6 |
1.5 |
2850 |
380 |
3.5 |
76 |
80GAK |
33 |
|
AS30-2CB |
42 |
11 |
3 |
2850 |
380 |
6.4 |
76 |
80GAK |
40 |
|
AS55-2CB |
45 |
13 |
5.5 |
2900 |
380 |
11.1 |
127 |
100GAK |
165 |
|
AS55-4CB |
100 |
7.5 |
5.5 |
1450 |
380 |
11.6 |
152 |
150GAK |
180 |
|
AS75-2CB |
60 |
18 |
7.5 |
2900 |
380 |
15.0 |
127 |
100GAK |
185 |
|
AS75-4CB |
145 |
10 |
7.5 |
1450 |
380 |
15.4 |
152 |
150GAK |
200 |
|
AV14-4 |
22 |
5.8 |
1.5 |
1450 |
380 |
3.5 |
76 |
80GAK |
33 |
|
AV55-2 |
30 |
20 |
5.5 |
2900 |
380 |
11.1 |
76 |
100GAK |
165 |
|
AV75-2 |
30 |
25 |
7.5 |
2900 |
380 |
15.0 |
76 |
100GAK |
200 |
【AS型撕裂式潛水排污泵】性能型譜圖:
【AS型撕裂式潛水排污泵】外形尺寸圖:

【AS型撕裂式潛水排污泵】安裝尺寸圖:

【AS型撕裂式潛水排污泵】使用說明:
在水泵啟動之前,應由一名合格的電工對該系統進行檢查,以確保下列下述各頂所要求的電器保護措施:
1、泵在運轉前,應用0~500兆歐表檢查電機相間及相對地絕緣電阻,低値應大于2MΩ;
2、電源裝置應安全、可靠、正常。電源電壓、頻率應符合規定(電壓為380V±5%,頻率為50Hz±1%),且電壓的瞬時超差不應超過10%。如果電源離水泵使用的距萬較遠時,電纜的截面積應加粗,接頭應盡可能少些,否則會使電壓下降太多,且應在電纜接頭處作密封防水處理,以防漏電;
3、在四芯電纜中,帶有符號"┴"者為接地線(一般為綠黃雙色線或黑色線)為了保證安全使用, 必須牢固接地,并比其它線長出50mm;
4、條件許可時,電器保護裝置可包括:接地保護器,地面漏電斷流器等,但是,在任何情況下,都必須裝有和電泵額定電流値相符的慢熔保險熔斷絲;
5、電器控制裝置應防潮,井安裝在防潮的區域,電纜的安放應注意不要使其堵在泵的吸入口處;
6、檢查轉子轉動方向。
在電泵初次啟動或重新安裝后都應檢查轉動方向,轉動方向不正確運轉會造成水泵效率降低,或造成葉輪脫落等損壞水泵事頂。
為測定轉子轉動方向,在水泵終安裝之前,應舉高并作點動運行,符合下列情況即轉動方向正確, 否則,應交換控制器上三相線中任意兩根線的位置以改變轉動方向。
a.從泵的頂部向下看,轉子順時針方向轉動;
b、從底部向上看〔即吸入口方向〕可見葉片按逆時針方向轉動。
注:如果幾臺泵連到同一個控制器上,則應單獨檢查。






