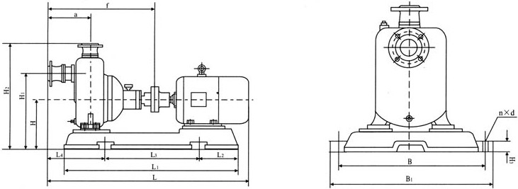
無堵塞自吸排污泵結構圖安裝尺寸圖
時間:2014-5-22 來源:揚子江泵業 瀏覽數:1449
【ZW型無堵塞自吸排污泵】產品簡介:
ZW型無堵塞自吸排污泵,又稱固液泵或雜質泵。是集自吸泵和無堵塞排污泵功能于一體,采用軸向回流外混式,水力設計獨特,葉輪是縮在單獨的葉輪室內,連接葉輪室的是壓水室,當葉輪旋轉時,泵內液體產生強烈的軸向渦流作用,使進口造成真空,出口產生揚程。因而雜質可以從壓水室排出,所以它的流道是完全暢通的,其排污效果是其它自吸式排污泵無可比擬的。通過泵體、葉輪流道的獨特設計,即可像一般自吸式清水離心泵那樣不需要安裝底閥和灌引水,又可吸排含有大顆粒固本和長纖維雜質液體。
【ZW型無堵塞自吸排污泵】型號意義:

【ZW型無堵塞自吸排污泵】產品優點:
ZW型無堵塞自吸排污泵與國內同類產品相比,具有結構簡單、自吸性能好、排污能力強、高效節能,使用維修方便等特點。
ZW型無堵塞自吸排污泵在排污泵系列產品中屬國內首創。各項技術性能指標居國內領先,達到國際先進水平,具有廣闊的應用市場和發展前景。
【ZW型無堵塞自吸排污泵】產品用途:
ZW型無堵塞自吸排污泵即可象一般自吸清水泵那樣不需要安裝底閥,又可吸排含有大顆粒固體塊、長纖維、沉淀物、廢礦雜質、糞便處理及一切工程污水物。可廣泛適用于市政排污工程、輕工、造紙、紡織、食品、化工、電業、石油、礦山和河塘養殖等行業。它是目前國內抽送固體顆粒、纖維、漿料和混合懸浮等介質理想的雜質泵。
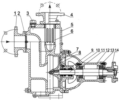
【ZW型無堵塞自吸排污泵】結構圖:
|
|
1 |
進口法蘭 |
|
2 |
拍門 |
|
|
3 |
加液螺栓 |
|
|
4 |
出口法蘭 |
|
|
5 |
泵體 |
|
|
6 |
氣液分離管 |
|
|
7 |
后蓋 |
|
|
8 |
葉輪 |
|
|
9 |
機械密封 |
|
|
10 |
泵軸 |
|
|
11 |
前軸承 |
|
|
12 |
軸承體 |
|
|
13 |
后軸承 |
|
|
14 |
連軸節 |
ZW型無堵塞自吸排污泵為單級單吸臥式,吸入口為軸向吸入,排出口為垂直向上,自吸入口向電機端看為順時針方向旋轉。
泵進、出口聯接:按基本型為法蘭(GB115.7-8-88)。配套電機為Y型異步電動機,可選擇普通型或防爆型,根據要求另行商定。ZW型無堵塞自吸排污泵泵體材質選用HT200、葉輪材質選用QT400-18,也可根據用戶需要選用不銹鋼,用于輸送腐蝕性介質。
【ZW型無堵塞自吸排污泵】性能參數:
|
型號 |
進出口徑 (mm) |
流量 (m3/h) |
揚程 (m) |
電機功率 (kw) |
自吸高度 (m) |
|
25ZW8-15 |
25×25 |
8 |
15 |
1.5-2P |
5 |
|
32ZW10-20 |
32×32 |
10 |
20 |
2.2-2P |
|
|
40ZW20-15 |
40×40 |
20 |
15 |
2.2-2P |
|
|
40ZW15-30 |
15 |
30 |
3.0-2P |
||
|
50ZW10-20 |
50×40 |
10 |
20 |
2.2-2P |
|
|
50ZW20-15 |
20 |
15 |
2.2-2P |
||
|
50ZW18-22 |
18 |
22 |
3.0-2P |
||
|
50ZW15-30 |
15 |
30 |
3.0-2P |
||
|
65ZW30-18 |
65×50 |
30 |
18 |
4.0-2P |
|
|
65ZW20-30 |
20 |
30 |
5.5-2P |
||
|
65ZW25-40 |
25 |
40 |
7.5-2P |
||
|
80ZW40-16 |
80×65 |
40 |
16 |
4.0-4P |
|
|
80ZW65-25 |
65 |
25 |
7.5-2P |
||
|
80ZW80-35 |
80 |
35 |
15.0-2P |
||
|
80ZW50-60 |
50 |
60 |
22.0-2P |
||
|
80ZW80-45 |
80 |
45 |
22.0-2P |
||
|
100ZW80-20 |
100×80 |
80 |
20 |
7.5-4P |
|
|
100ZW100-15 |
100 |
15 |
7.5-4P |
||
|
100ZW100-20 |
100 |
20 |
11.0-4P |
||
|
100ZW100-30 |
100 |
30 |
22.0-2P |
||
|
100ZW80-45 |
80 |
45 |
30.0-2P |
||
|
100ZW80-60 |
80 |
60 |
37.0-2P |
||
|
100ZW80-80 |
80 |
80 |
45.0-2P |
||
|
125ZW120-20 |
125×125 |
120 |
20 |
15.0-4P |
|
|
150ZW200-15 |
150×150 |
200 |
15 |
15.0-4P |
|
|
150ZW200-20 |
200 |
20 |
22.0-4P |
||
|
150ZW200-28 |
200 |
28 |
30.0-4P |
||
|
150ZW400-25 |
400 |
25 |
55.0-2P |
||
|
150ZW180-40 |
180 |
40 |
55.0-4P |
||
|
200ZW280-12 |
200×150 |
280 |
12 |
22.0-4P |
|
|
200ZW300-18 |
300 |
18 |
37.0-4P |
||
|
200ZW300-25 |
300 |
25 |
45.0-4P |
||
|
200ZW280-28 |
280 |
28 |
55.0-4P |
||
|
250ZW400-22 |
250×200 |
400 |
22 |
55.0-4P |
|
|
300ZW800-14 |
300×250 |
800 |
14 |
55.0-4P |
【ZW型無堵塞自吸排污泵】安裝示意圖:
|
|
1 |
泵 |
|
2 |
壓力表 |
|
|
3 |
出口垂管 |
|
|
4 |
吸入硬喉管 |
|
|
5 |
彎頭 |
|
|
6 |
流量控制閥 |
|
|
7 |
出口管路 |
|
|
8 |
加液螺塞 |
|
|
9 |
真空表 |
ZW型無堵塞自吸排污泵安裝好壞對泵的運行和壽命有較大影響,所以必須仔細進行。(規范的泵管路安裝見示意圖)
1、ZW型無堵塞自吸排污泵吸入口的安裝高度盡量不要超過5米,應特別注意吸入管路的密封性,以免漏氣而影響泵的自吸能力和正常運行。
2、ZW型無堵塞自吸排污泵的出口處應先裝上一段垂管(一般為0.4~1米)和壓力表,然后再安裝出口流量控制閥門及其他管路。
3、要合理配置泵進、出口管路的長度和管徑,減少不必要的沿程水頭損失。(可參考直管摩擦損失簡表進行估算)
4、長距離輸送時應選用較大管徑。泵的管路應有自己的支架,泵體本身不允許承受管路的負荷。
5、排出管路如裝逆止閥應裝在出口流量控制閥門外面。
【ZW型無堵塞自吸排污泵】安裝尺寸圖:

|
型號 |
L |
L1 |
L2 |
L3 |
L4 |
A |
F |
B1 |
B2 |
H |
Hl |
H2 |
n3 |
n-d |
|
25-8-15 |
800 |
640 |
115 |
400 |
220 |
210 |
450 |
250 |
300 |
190 |
310 |
500 |
24 |
4-φl6 |
|
32-5-20 |
800 |
640 |
115 |
400 |
220 |
210 |
450 |
250 |
300 |
190 |
310 |
500 |
24 |
4-φl6 |
|
32-10-20 |
800 |
640 |
115 |
400 |
220 |
210 |
450 |
250 |
300 |
190 |
310 |
500 |
24 |
4-φl6 |
|
32-9-30 |
890 |
740 |
140 |
445 |
230 |
220 |
510 |
310 |
360 |
205 |
345 |
540 |
24 |
4-φl6 |
|
40-10-20 |
800 |
640 |
115 |
400 |
220 |
210 |
450 |
250 |
300 |
190 |
3lO |
500 |
24 |
4-φl6 |
|
40-20-5 |
800 |
640 |
115 |
400 |
220 |
210 |
450 |
250 |
300 |
190 |
310 |
500 |
24 |
4-φl6 |
|
40-15-30 |
890 |
740 |
140 |
445 |
230 |
220 |
510 |
310 |
360 |
205 |
345 |
540 |
24 |
4-φl6 |
|
50-10-20 |
800 |
640 |
115 |
400 |
220 |
210 |
450 |
250 |
300 |
190 |
310 |
500 |
24 |
4-φl6 |
|
50-20-12 |
800 |
640 |
115 |
400 |
220 |
210 |
450 |
250 |
300 |
190 |
310 |
500 |
24 |
4-φl6 |
|
50-15-30 |
890 |
740 |
140 |
445 |
230 |
220 |
510 |
310 |
360 |
205 |
345 |
540 |
24 |
4-φl6 |
|
50-20-35 |
1130 |
840 |
135 |
570 |
315 |
350 |
650 |
350 |
410 |
240 |
430 |
630 |
25 |
4-φl8 |
|
65-30-18 |
1120 |
770 |
125 |
520 |
370 |
390 |
720 |
350 |
410 |
250 |
445 |
705 |
25 |
4-φl8 |
|
65-25-30 |
1130 |
840 |
135 |
570 |
315 |
360 |
660 |
350 |
410 |
240 |
430 |
640 |
25 |
4-φl8 |
|
65-25-40 |
1130 |
840 |
135 |
570 |
315 |
360 |
660 |
350 |
410 |
240 |
430 |
640 |
25 |
4-φl8 |
|
65-40-25 |
1130 |
840 |
135 |
570 |
315 |
360 |
660 |
350 |
410 |
240 |
430 |
640 |
25 |
4-φl8 |
|
65-65-25 |
1190 |
840 |
135 |
570 |
380 |
390 |
720 |
350 |
410 |
255 |
465 |
705 |
25 |
4-φl8 |
|
80-40-16 |
1120 |
770 |
125 |
520 |
370 |
390 |
720 |
350 |
410 |
250 |
445 |
705 |
25 |
4-φl8 |
|
80-40-25 |
1190 |
840 |
135 |
570 |
380 |
390 |
720 |
350 |
410 |
255 |
465 |
705 |
25 |
4-φl8 |
|
80-25-40 |
1190 |
840 |
135 |
570 |
380 |
390 |
720 |
350 |
410 |
255 |
465 |
705 |
25 |
4-φl8 |
|
80-65-25 |
1190 |
840 |
135 |
570 |
380 |
390 |
720 |
350 |
410 |
255 |
465 |
705 |
25 |
4-φl8 |
|
80m80-35 |
1325 |
1050 |
170 |
705 |
350 |
390 |
720 |
450 |
500 |
270 |
465 |
725 |
25 |
4-φ23 |
|
80-40-50 |
1370 |
1050 |
170 |
705 |
350 |
390 |
720 |
450 |
500 |
270 |
465 |
725 |
25 |
4-φ23 |
|
80-50-60 |
1390 |
1050 |
170 |
705 |
350 |
390 |
720 |
450 |
500 |
270 |
465 |
725 |
25 |
4-φ23 |
|
100-80-20 |
1350 |
1010 |
170 |
630 |
450 |
430 |
825 |
430 |
480 |
300 |
580 |
820 |
28 |
4-φ18 |
|
100-100-15 |
1350 |
1010 |
170 |
630 |
450 |
430 |
825 |
430 |
480 |
300 |
580 |
820 |
28 |
4-φ18 |
|
100-100-20 |
1420 |
1035 |
200 |
630 |
450 |
430 |
825 |
450 |
500 |
300 |
580 |
820 |
25 |
4-φ23 |
|
100-100-30 |
1520 |
1050 |
170 |
705 |
450 |
430 |
825 |
450 |
500 |
300 |
580 |
820 |
25 |
4-φ23 |
|
100-80-45 |
1620 |
1180 |
210 |
785 |
450 |
430 |
825 |
500 |
550 |
325 |
600 |
840 |
28 |
4-φ23 |
|
100-80-60 |
1620 |
1180 |
210 |
785 |
450 |
430 |
825 |
500 |
550 |
325 |
600 |
840 |
28 |
4-φ23 |
|
100-80-80 |
1670 |
1250 |
210 |
785 |
450 |
430 |
825 |
500 |
550 |
325 |
600 |
840 |
28 |
4-φ23 |
|
125-120-20 |
1650 |
1260 |
255 |
750 |
610 |
560 |
990 |
450 |
500 |
325 |
625 |
910 |
30 |
4-φ23 |
|
150-180-14 |
1650 |
1260 |
255 |
750 |
610 |
560 |
990 |
450 |
500 |
325 |
625 |
910 |
30 |
4-φ23 |
|
150-180-20 |
1710 |
1260 |
255 |
750 |
610 |
560 |
990 |
450 |
500 |
325 |
625 |
910 |
30 |
4-φ23 |
|
150-180-30 |
1820 |
1350 |
275 |
800 |
630 |
560 |
990 |
520 |
565 |
350 |
650 |
930 |
30 |
4-φ23 |
|
150-180-38 |
1930 |
1450 |
300 |
850 |
655 |
560 |
990 |
580 |
660 |
350 |
650 |
930 |
30 |
4-φ23 |
|
200-280-14 |
1920 |
1440 |
300 |
840 |
800 |
720 |
1205 |
520 |
565 |
365 |
680 |
1030 |
30 |
4-φ23 |
|
200-280-20 |
2035 |
1440 |
300 |
840 |
800 |
720 |
1205 |
520 |
565 |
365 |
680 |
1030 |
30 |
4-φ23 |
|
200-300-25 |
2060 |
1440 |
300 |
840 |
800 |
720 |
1205 |
520 |
565 |
365 |
680 |
1030 |
30 |
4-φ23 |
|
200-280-28 |
2145 |
1540 |
300 |
940 |
800 |
720 |
1205 |
580 |
660 |
385 |
700 |
1050 |
30 |
4-φ23 |
|
250-420-20 |
2180 |
1600 |
300 |
1000 |
800 |
800 |
1330 |
610 |
680 |
430 |
800 |
1200 |
30 |
4-φ23 |
|
300-800-14 |
2580 |
1880 |
300 |
1280 |
800 |
1030 |
1500 |
610 |
680 |
530 |
900 |
1350 |
30 |
4-φ23 |
【ZW型無堵塞自吸排污泵】法蘭尺寸:

|
型號 |
吸人口法蘭尺寸 |
排出口法蘭尺寸 |
||||||||||||
|
DN1 |
D1 |
Dxx |
d1 |
b1 |
f1 |
n1×d01 |
DN2 |
D2 |
D22 |
d2 |
b2 |
f2 |
n1×d02 |
|
|
25-8-15 |
25 |
100 |
75 |
60 |
14 |
2 |
4×φ14 |
25 |
100 |
75 |
60 |
14 |
2 |
4×φ14 |
|
32-5-20 |
32 |
120 |
90 |
70 |
14 |
2 |
4×φ14 |
32 |
120 |
90 |
70 |
14 |
2 |
4×φ14 |
|
32-10-20 |
32 |
120 |
90 |
70 |
14 |
2 |
4×φ14 |
32 |
120 |
90 |
70 |
14 |
2 |
4×φ14 |
|
32-9-30 |
32 |
120 |
90 |
70 |
14 |
2 |
4×φ14 |
32 |
120 |
90 |
70 |
14 |
2 |
4×φ14 |
|
40-10-20 |
40 |
130 |
100 |
80 |
14 |
2 |
4×φ14 |
32 |
120 |
90 |
70 |
14 |
2 |
4×φ14 |
|
40-20-15 |
40 |
130 |
100 |
80 |
14 |
2 |
4×φ14 |
32 |
120 |
90 |
70 |
14 |
2 |
4×φ14 |
|
40-15-30 |
40 |
130 |
100 |
80 |
14 |
2 |
4×φ14 |
32 |
120 |
90 |
70 |
14 |
2 |
4×φ14 |
|
50-10-20 |
50 |
140 |
110 |
90 |
14 |
2 |
4×φ14 |
40 |
130 |
100 |
80 |
14 |
2 |
4×φ14 |
|
50-20-12 |
50 |
140 |
110 |
90 |
14 |
2 |
4×φ14 |
40 |
130 |
100 |
80 |
14 |
2 |
4×φ14 |
|
50-15-30 |
50 |
140 |
110 |
90 |
14 |
2 |
4×φ14 |
40 |
130 |
1OO |
80 |
14 |
2 |
4×φ14 |
|
50-20-35 |
50 |
140 |
110 |
90 |
14 |
2 |
4×φ14 |
40 |
130 |
100 |
80 |
14 |
2 |
4Xφ14 |
|
65-30-18 |
65 |
160 |
130 |
110 |
14 |
2 |
4×φ14 |
65 |
160 |
130 |
11O |
14 |
2 |
4×φ14 |
|
65-25-30 |
65 |
160 |
130 |
110 |
14 |
2 |
4×φ14 |
65 |
160 |
130 |
110 |
14 |
2 |
4×φ14 |
|
65-25-40 |
65 |
160 |
130 |
110 |
14 |
2 |
4×φ14 |
65 |
160 |
130 |
110 |
14 |
2 |
4×φ14 |
|
65-40-25 |
65 |
160 |
130 |
110 |
14 |
2 |
4×φ14 |
65 |
160 |
130 |
110 |
14 |
2 |
4×φ14 |
|
65-65-25 |
65 |
160 |
130 |
110 |
14 |
2 |
4×φ14 |
65 |
160 |
130 |
11O |
14 |
2 |
4×φ14 |
|
80-40-16 |
80 |
190 |
150 |
125 |
15 |
2 |
4×φ18 |
65 |
160 |
130 |
110 |
14 |
2 |
4×φ14 |
|
80-40-25 |
80 |
190 |
150 |
125 |
15 |
2 |
4×φ18 |
65 |
160 |
130 |
11O |
14 |
2 |
4×φ14 |
|
80-25-40 |
80 |
190 |
150 |
125 |
15 |
2 |
4×φ18 |
65 |
160 |
130 |
110 |
14 |
2 |
4×φ14 |
|
80-65--25 |
80 |
190 |
150 |
125 |
15 |
2 |
4×φ18 |
65 |
160 |
130 |
110 |
14 |
2 |
4×φ14 |
|
80-80-35 |
80 |
190 |
150 |
125 |
15 |
2 |
4×φ18 |
65 |
160 |
130 |
110 |
14 |
2 |
4×φ14 |
|
80-40-50 |
80 |
190 |
150 |
125 |
15 |
2 |
4×φ18 |
65 |
160 |
130 |
110 |
14 |
2 |
4×φ14 |
|
80-50-60 |
80 |
190 |
150 |
125 |
15 |
2 |
4×φ18 |
65 |
160 |
130 |
110 |
14 |
2 |
4×φ14 |
|
100-80-20 |
100 |
210 |
170 |
145 |
15 |
3 |
4×φ18 |
80 |
190 |
150 |
125 |
15 |
2 |
4×φ18 |
|
100-100-15 |
100 |
210 |
170 |
145 |
15 |
3 |
4×φ18 |
80 |
190 |
150 |
125 |
15 |
2 |
4×φ18 |
|
100-100-20 |
100 |
210 |
170 |
145 |
15 |
3 |
4×φ18 |
80 |
190 |
150 |
125 |
15 |
2 |
4×φ18 |
|
100-100-30 |
1OO |
210 |
170 |
145 |
15 |
3 |
4×φ18 |
80 |
190 |
150 |
125 |
15 |
2 |
4×φ18 |
|
100-80-45 |
100 |
210 |
170 |
145 |
15 |
3 |
4×φ18 |
80 |
190 |
150 |
125 |
15 |
2 |
4×φ18 |
|
100-80-60 |
100 |
210 |
170 |
145 |
15 |
3 |
4×φ18 |
80 |
190 |
150 |
125 |
15 |
2 |
4×φ18 |
|
100-80-80 |
100 |
210 |
170 |
145 |
15 |
3 |
4×φ18 |
80 |
190 |
150 |
125 |
15 |
2 |
4×φ18 |
|
125-120-20 |
125 |
240 |
200。 |
175 |
20 |
3 |
8×φ18 |
125 |
240 |
200 |
175 |
20 |
3 |
8×φ18 |
|
150-180-14 |
150 |
t265 |
225 |
200 |
20 |
3 |
8×φ18 |
125 |
240 |
200 |
175 |
20 |
3 |
8×φ18 |
|
150-180-20 |
150 |
265 |
225 |
200 |
20 |
3 |
8×φ18 |
125 |
240 |
200 |
175 |
20 |
3 |
8×φ18 |
|
150-180-30 |
150 |
265 |
225 |
200 |
20 |
3 |
8×φ18 |
125 |
240 |
200 |
175 |
20 |
3 |
8×φ18 |
|
150-180-38 |
150 |
265 |
225 |
200 |
20 |
3 |
8×φ18 |
125 |
240 |
200 |
175 |
20 |
3 |
8×φ18 |
|
200-280-14 |
200 |
320 |
280 |
255 |
22 |
3 |
8×φ18 |
150 |
265 |
225 |
200 |
20 |
3 |
8×φ18 |
|
200-280-20 |
200 |
320 |
280 |
255 |
22 |
3 |
8×φ18 |
150 |
265 |
225 |
200 |
20 |
3 |
8×φ18 |
|
200-300-25 |
200 |
320 |
280 |
255 |
22 |
3 |
8×φ18 |
150 |
265 |
225 |
200 |
20 |
3 |
8×φ18 |
|
200-280-28 |
200 |
320 |
280 |
255 |
22 |
3 |
8×φ18 |
150 |
265 |
225 |
200 |
20 |
3 |
8×φ18 |
|
250-420-20 |
250 |
375 |
335 |
310 |
24 |
3 |
12×φ18 |
200 |
320 |
280 |
255 |
22 |
3 |
8×φ18 |
|
300-800-14 |
300 |
375 |
395 |
362 |
24 |
4 |
12×φ18 |
250 |
375 |
335 |
310 |
24 |
3 |
12×φ18 |
【ZW型無堵塞自吸排污泵】安裝使用與維修:
ZW型無堵塞自吸排污泵的安裝
ZW型無堵塞自吸排污泵安裝好壞對泵的運行和壽命有較大影響,所以必須仔細進行。
1、ZW型無堵塞自吸排污泵吸入口的安裝高度盡量不要超過5米,應特別注意吸入管路的密封性,以免漏氣而影響泵的自吸能力和正常運行。
2、ZW型無堵塞自吸排污泵的出口處應先裝上一段垂管{一般為0.4~1米)和壓力表,然后再安裝出口流量控制閥門及其他管路。
3、要合理配置泵進、出口管路的長度和管徑,減少不必要的沿程水頭損失。(可參考直管摩擦損失簡表進行估算)
4、長距離輸送時應選用較大管徑。泵的管路應有自己的支架,泵體本身不允許承受管路的負荷。
5、排出管路如裝逆止閥應裝在出口流量控制閥門外面。
ZW型無堵塞自吸排污泵的使用
1、使用前,應檢查泵的旋轉方向是否正確,轉動是否靈活。
2、擰開泵體上方的加液螺塞,加滿儲液,然后旋緊螺塞。以后開機不需再加注儲液。不應在泵儲液不足的情況下啟動運轉,否則泵不能正常工作,且易損壞機械密封。
3、開機時,應先開啟出口流量控制閥,以便于自吸過程中的氣體排出。起動后,再調節好出口流量控制閥的開度,使壓力表讀數指到規定區域(各種泵型壓力控制范圍表),避免泵在規定區域的下限范圍內工作,以防因軸功率過大而引起電動機過載燒壞或因流量過大而使泵產生汽蝕,影響泵正常運轉,使泵強烈振動和發出噪聲。
4、運轉過程中,應經常檢查泵和電動機的溫升情況,如發現噪聲和其他不正常聲音時,應停機檢查,排除故障后方可再運行。
5、停機時,應先要關閉出口流量控制閥,然后再停機,以免因虹吸作用導致泵體內儲液量的不足。
6、定期進行加油、維護,如長期停止使用應將泵拆卸清洗上油,妥善保存。
【ZW型無堵塞自吸排污泵】使用注意事項:
1.吸入管路越短越好,長不超過10M。
2.此泵若用于抽吸較稠較粘的漿液后,需清洗泵腔,防止泵內留下沉淀物。
3.自吸泵第一次使用,仍需將泵腔灌滿水。
4.常規運行3000小時后,需對水泵進行拆檢保養,必要時更換不宜再用的易損件。
5.此泵可定做直聯式,同心度高,穩定性增強,亦更為經濟,不過維修稍嫌麻煩。
6.環境溫度≤45℃,介質溫度≤60℃。
7.介質PH值鑄鐵泵為6~9,不銹鋼自吸泵為1~14。
8.通過顆粒大直徑為自吸泵口徑的60%,纖維長度為口徑的5倍。
9.介質中雜質總重量不超過介質總重量的15%,介質比重不超過1240千克/立方米。
感謝您訪問我們揚子江泵業的網站www.nwarestoration.com,如有任何水泵疑問我們一定會盡心盡力為您提供優質的服務。







